Multi-purpose small robot
Product parameter
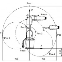
Version: Universal version
Load: 7KG
Working area: 703mm
Number of axes: 6 axes
Installation method: any Angle
Accuracy: 0.02mm
Protection class: IP40,IP67
Body weight: 52KG
Energy consumption: 0.39kw
Main applications: loading and unloading, material handling
Product advantage
Workstations are 15% smaller and beat times are 10% shorter
Food grade lubrication is optional
SafeMove2 is optional
Standard IP40 protection grade; Clean room, IP67 and Foundry Expert II protection classes are available
Four gas pipes, 10 user signal cables, and Ethernet cables are routed internally from the wrist flange to the base
Available in two models: 700 mm operating range /7 kg payload and 900 mm operating range /5 kg payload
Can be installed at any Angle
Small body, large effective working range



